PRODUCT CENTER
所有產品
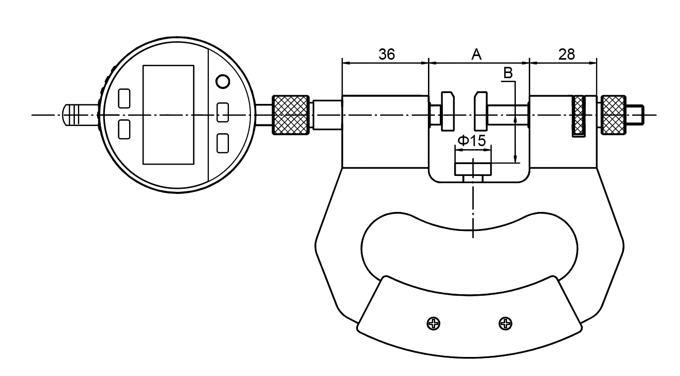
量表
適用于批量加工過程中圓柱體和軸的直徑尺寸檢測。
選配量表502-01-122;安裝尺寸為8mm。
活動測砧(表頭)行程:3mm;測力6-9N。
兩測砧前端面倒角,易于工件的插入。
測量面尺寸為:14×11mm。
| 貨號 | 測量范圍 | A | B |
|---|---|---|---|
| 509-01-150 | 0-25mm | 42mm | 20.0mm |
| 509-02-150 | 25-50mm | 69mm | 32.5mm |
| 509-03-150 | 50-75mm | 94mm | 45.0mm |
| 509-04-150 | 75-100mm | 119mm | 57.5mm |
| 509-05-150 | 100-125mm | 144mm | 70.0mm |
| 509-06-150 | 125-150mm | 169mm | 82.5mm |
| 509-07-150 | 150-175mm | 194mm | 95.0mm |
| 509-08-150 | 175-200mm | 219mm | 107.5mm |
| 509-09-150 | 200-225mm | 244mm | 120.0mm |
| 509-10-150 | 225-250mm | 269mm | 132.5mm |
| 509-11-150 | 250-275mm | 294mm | 145.0mm |
| 509-12-150 | 275-300mm | 319mm | 157.5mm |
